IE管理端--考勤统计设置及查看
2025-12-01 16:38:37
admin
7
考勤签到使用说明
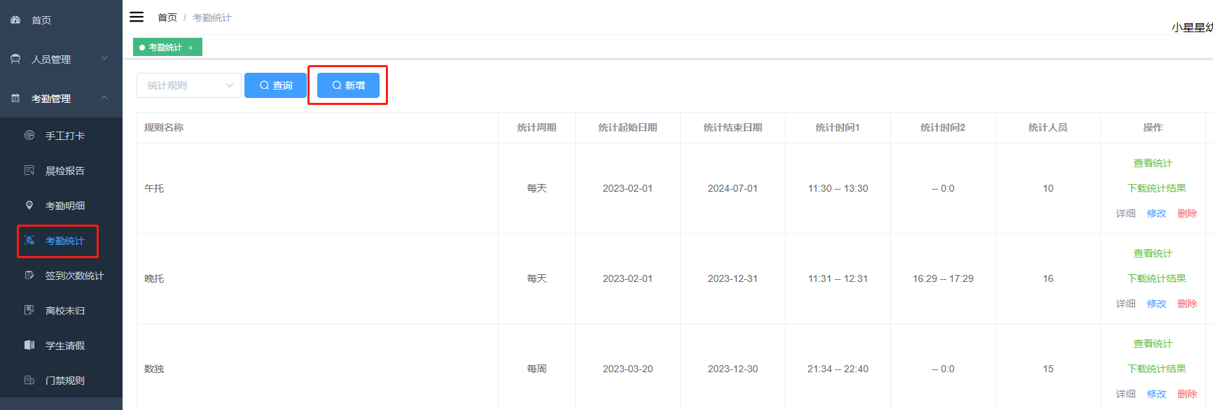
一.创建统计:
依次点击“考勤管理”--“考勤统计”--“新增”进行课程新增。如下图所示:

新增的课程周期类型分为3种,
1.按每天课程进行创建,适用于每天都有课程的项目;或查看教工每天的考勤情况

2.按每周课程进行创建,适用于每周都有课程的项目,比如周一、三、五都有课程这种。

3.按每个月课程进出创建,适用于没有固定每周几课程,而是按排课进出培训这种项目。

输入完数据后,点击确定即可创建成功。
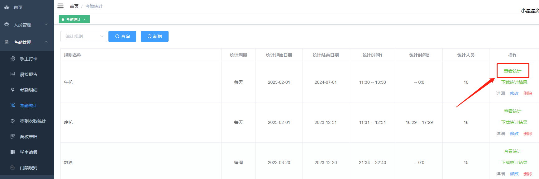
二、如何查看打卡次数。
在左侧菜单处,依次点击“考勤管理”--“考勤统计”--“查看统计”。如下图:


其他说明:
正常、迟到、早退都视作有打卡,只是打卡时间跟刷卡机设置的时间不匹配造成的,实际次数应为正常+迟到+早退的次数相加。
打卡次数=正常+迟到+早退
缺席则表示没打卡。
考勤也可以用同样的方法进行签到统计。
如要了解更详细的打卡记录,可点击“下载详细记录”或点击“下载统计结果”按钮下载Excel表格进行查看

2.如何新增报名人员
如下图所示,依次点击“考勤管理”--“考勤统计”选择需要报名的课程,点击“修改”按钮。

在下框出选取报名人员,按下图操作进行新增。
